危地马拉全国联赛_上海多校“发臭午餐”供应商绿捷日供餐超50万份 董事长曾任新希望六和总裁
皇冠足球管理平台出租(www.hg0088.us)登2可开下级代理登3)申请条件、每周有效投注额30万或以上,6000 USDT约合人民币4万),可额度、10万,1+1保证金模式、. 举例、 1,8成代理本文来源:海报新闻危地马拉全国联赛,扬子晚报,华夏时报,九派新闻,上海教育,现代快报
近日,有家长在社交媒体反映孩子学校午餐的虾仁炒蛋“有臭味”,被紧急停止供应危地马拉全国联赛。
据了解,该学校午餐供应商为上海绿捷实业发展有限公司(下称“绿捷公司”),公司总部位于上海市闵行区颛桥镇,是一家主营学生营养午餐的团餐企业,自建有低温冷库、低温配送库、常温配送库,自有全程温控的冷链物流车队,可提供仓库物流一站式服务危地马拉全国联赛。
据上海市闵行区农业农村委员会去年1月推送的消息,绿捷公司秉持“民以食为天,食以安为先”的宗旨,业务覆盖上海市16个区的500多所中小学、幼儿园,日供餐超过50万份危地马拉全国联赛。
2024年1月,上海市农业农村委员会公布农业产业化上海市重点龙头企业名单,绿捷公司被评为农业产业化上海市重点龙头企业危地马拉全国联赛。

来源:上海市闵行区农业农村委员会
天眼查官网显示,绿捷公司企业注册资本5000万人民币,共对外投资14家企业,目前仅剩3家存续,其他公司均已注销危地马拉全国联赛。
招投标方面,天眼查官网中披露的绿捷公司参与的招投标信息共180条,仅今年8月,该公司就中标上海几十家中小学的食堂餐饮服务项目危地马拉全国联赛。
其中,8月29日的一则食堂委托管理项目的中标(成交)结果公告显示,绿捷公司为上海市实验学校附属东滩学校约1940名师生提供安全、卫生、可口的饭菜和干净整洁的就餐环境,合同金额为231.56万元危地马拉全国联赛。

来源:天眼查
展开全文
在该项目中,绿捷公司的评审总得分为92.31分危地马拉全国联赛。推荐理由为:绿捷公司对本项目理解较为充分,其整体服务方案针对性较强、内容较为详细,在服务承诺、应急预案等方面均较为齐全,人员设置较为合理且人员资质较好,业绩较多类似经验较为丰富。
另一则上海市曹杨第二中学教职工供餐服务项目的中标(成交)结果公告显示,绿捷公司评审总得分为94.33分,中标(成交金额)150万元危地马拉全国联赛。推荐理由为:绿捷公司响应最充分,类似业绩最多,企业综合实力较强,对采购需求理解透彻,整体服务方案相对完整,人员配置合理且提供相应资质。菜单设计合理,食品安全保障较强。根据最终评审,得分最高。
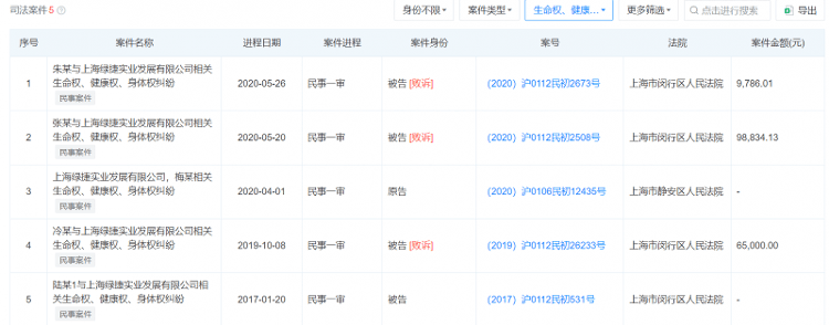
天眼查官网显示,绿捷公司此前还多次发生生命权、健康权、身体权纠纷危地马拉全国联赛。

来源:天眼查
“发臭午餐”事件后,绿捷公司曾对媒体表示,虾仁里有细沙,不是所有批次都存在问题,不存在别的食品安全问题,公司也留样了危地马拉全国联赛。公司将加强食品安全监管,并深刻反思。
发臭午餐供应商旗下11家企业注销
曾涉及健康权纠纷
近日,上海多所学校的家长在社交媒体反映称孩子学校午餐中的虾仁炒蛋被紧急停止供应,引发关注与讨论危地马拉全国联赛。据东方网·纵相新闻9月16日消息,针对学校午餐中的虾仁炒蛋被紧急停止供应事件,记者从提供该套餐的上海绿捷实业发展有限公司获悉,有学校反映虾仁里有细沙,“不是所有批次都存在问题,不存在别的食品安全问题,因为我们也留样了。”对方表示,公司将加强食品安全监管,并深刻反思。同日,闵行区市场监督管理局接受媒体采访时表示,他们已关注到此事,并积极开展调查。
天眼查工商信息显示,涉事公司上海绿捷实业发展有限公司成立于2014年9月,法定代表人为葛均锋,注册资本5000万人民币,经营范围包括餐饮管理、信息咨询服务、食用农产品批发等危地马拉全国联赛。股东信息显示,该公司由GreenExpress Foods, Limited全资持股。对外投资信息显示,该公司对外投资14家企业,仅有3家企业处于存续状态,分别是上海同桌餐饮管理有限公司、绿捷(上海)企业发展有限公司、上海臻滋味食品有限公司,其余11家企业已注销。天眼风险信息显示,该公司曾多次因生命权、健康权、身体权纠纷被起诉。
绿捷的背后
如果不是罗永浩“大战”西贝,或许绿捷并不会这么快走到台前危地马拉全国联赛。据了解,上述家长只知道孩子学校菜品口味、质量不佳,但鲜有人知背后配餐公司是何许人也。
据天眼查,绿捷公司的实控人、控股股东为香港的一家公司,GreenExpress Foods, Limited危地马拉全国联赛。股权穿透显示,公司受益所有人、董事长为陶煦。
公开资料显示,陶煦还是冻品汇董事长,美国威斯康⾟⼤学博⼠,曾任正⼤集团财务主管/总经理,他还是前新希望六和总裁、董事,负责公司战略及内外资源的整合危地马拉全国联赛。
“今日闵行”微信公众号2024年1月14日发布的推文介绍:“作为一家主营学生营养午餐的团餐企业,上海绿捷实业发展有限公司秉着‘民以食为天,食以安为先’的宗旨,成立20多年来,通过全方位的科学管控手段,形成了专业、完善、有效的工作内容和管理制度,来确保学生营养餐‘安全、营养、美味’危地马拉全国联赛。目前公司业务覆盖全市16个区的500多所中小学、幼儿园,日供餐超过50万份。”
如今,绿捷公司仍在不断中标上海的学校供餐服务项目危地马拉全国联赛。今年以来中标金额为100万元到500万元左右不等。
普陀区一家中学教职工供餐服务项目的中标(成交)结果公告显示,推荐理由为上海绿捷实业发展有限公司响应最充分,类似业绩最多,企业综合实力较强,对采购需求理解透彻,整体服务方案相对完整,人员配置合理且提供相应资质危地马拉全国联赛。菜单设计合理,食品安全保障较强。根据最终评审,得分最高。
上海教委通报“部分学校午餐问题”
相关菜品已送检 一周内将出结果
9月18日晚,上海市教委发布通报称,近日,有上海市民反映上海绿捷实业发展有限公司9月15日供应上海市部分学校午餐中的虾仁炒蛋存在问题危地马拉全国联赛。
通报表示,对此,上海市教委会同市场监督管理部门赴现场调查,相关菜品留样及原料已送上海市质量监督检验技术研究院有限公司和上海中维检测技术有限公司进行检验危地马拉全国联赛。根据相关规程,一周内将出具检验结果。
上海市教委将广泛听取学生和家长意见,严格遵守校园食品安全相关规定,进一步落实学校负责人陪餐制,发挥膳食监督家长委员会作用,增加菜品选择等,不断提高供餐质量危地马拉全国联赛。同时,会同相关部门,加大对学校供餐企业的监管力度。欢迎社会各界监督,共同守护学生健康。
媒体:是不是发臭得说清楚
上海多所学校的家长反映,当天中午的学生餐里,一道虾仁炒蛋被临时撤掉,学生说这道菜 " 有臭味 "危地马拉全国联赛。当地教育局回应表示 " 的确有撤菜,目前正在对此事进行调查 "。
截至目前,撤菜原因不明危地马拉全国联赛。据媒体报道,作为午餐供应商的上海绿捷实业发展有限公司表示,有学校反映虾仁里有细沙,但不是所有批次都存在问题,也不存在别的食品安全问题。这个说法与家长的反映大相径庭。虾仁含细沙和虾仁发臭都会影响餐食品质,但两者的性质完全不同,对食用者的健康影响也相差甚远。供应商虽然否认了食品安全问题,但作为当事方,其一家之言无法自证清白。到底是含沙还是发臭,其实并不难查清,希望教育局、市场监管局等部门尽快给出撤菜的真实原因,回应社会关切。
据报道,绿捷公司业务覆盖上海 16 个区的 500 多所中小学、幼儿园,日供餐超过 50 万份危地马拉全国联赛。可以说,其餐品质量影响到千家万户,不可掉以轻心。目前,上海已推行 AB 制学生午餐,为学生提供了更多选择。统一配送的餐食口味很难做到让所有人满意,这点学生和家长可以理解,但在食品安全上不应有丝毫松懈。事关 50 万左右学生的健康,供应商企业除了具备相应资质,也应公开透明化流程,以便全社会共同参与监督。
在现有科技水平和监管体系的支持下,校园食品安全可以通过严格标准和全程监管得到保证危地马拉全国联赛。相关部门可以对供应商全链条进行监管和检查;学校管理人员对餐品进行例行检查和留样;家长代表可参与监管、检查、陪餐等活动,此前已有家长陪餐时发现食堂后厨卫生异样的案例。
对于学生健康的呵护,必须建立 " 预防为先 " 的长效机制,平时提前排查风险,莫等亡羊补牢危地马拉全国联赛。
猜你喜欢
- 5小时前皇冠信用网会员 _比伊朗还快!260公里射程碾压全球,阿塞拜疆用红旗-9BE和枭龙,撕破美俄垄断!
- 9小时前如何代理皇冠信用網 _河南南阳:罚而不管 耕地红线遭硬闯4年
- 9小时前如何代理皇冠信用網 _中国公民在日本安全环境持续恶化,外交部提醒近期避免前往
- 16小时前皇冠信用网代理 _突发:俄军苏-30战机坠毁,机组人员全部遇难
- 18小时前如何申请皇冠信用网 _刚攻下红军城,俄外长拉夫罗夫高调表态,中俄不缔结同盟,现实主义才是真道理?
- 18小时前如何申请皇冠信用网 _事情闹大了!高市早苗似乎不知,联合国敌国条款仍然有效,日本可随时立正挨打,中方警告前所未有
- 20小时前皇冠信用網需要押金吗 _美国即将动武,欧盟举起反对大旗,美国国务卿鲁比奥却反讽:你们应该感谢美国才对
- 22小时前皇冠信用网如何注册 _阿根廷要做“第二个荷兰”?出手扣押中方零件,中阿项目按下了“暂停键”
- 1天前皇冠信用代理出租 _这次轮到俄罗斯主动求谈判,乌克兰却立即拒绝,泽连斯基誓要展示“胜利姿态”
- 1天前皇冠信用代理出租 _“淮北为啥不种橘子?”果农:因为我们有更甜的王牌
- 1天前皇冠信用盘会员注册网址 _“什么自割咽喉?西班牙就要做中国在欧洲最好的朋友”
- 1天前皇冠信用網开号 _48小时内,中方连下3令,特朗普别高兴太早,承诺一个都不能少
- 2天前皇冠信用盘平台 _长治男子摔死咬人狗后“反杀”入侵住宅的狗主人案今开庭,律师将作无罪辩护
- 2天前皇冠信用开号 _乌克兰全黑了!核打击前最后警告,俄军发射13枚“全球禁止”导弹
- 3天前皇冠信用开户 _西安7岁女孩寒风中穿凉鞋路边捡吃的,父亲称妻子离世家境窘迫,民政局:已妥善安排
- 5天前信用网怎么开户 _桂林安装可移动防洪挡墙,网友担心影响观景,官方回应:不用时可以收起来,不影响
- 5天前信用網怎么开户 _博尼的精彩表现:国米2-0战胜拉齐奥背后的数据解读
- 5天前皇冠信用网会员怎么开通 _曼城3-0大胜利物浦!杜库独造三球,萨拉赫单刀被神扑,蓝月亮主场统治红军
- 6天前皇冠信用网如何注册 _英国一对情侣吸毒过量死在床上,尸体旁有一验孕棒
- 6天前皇冠信用網代理平台 _中方强烈愤慨:已向欧方严正交涉【看世界·新闻早知道】
- 7天前皇冠信用网会员开户 _仅差一步中超就将重回广州城!广东广州豹憾得中甲联赛第三名
- 7天前皇冠信用網登 _重庆铜梁龙最后时刻冲超,明年浙江绿城的新对手定了!
- 7天前皇冠注册平台 _上海一大学生网购“通用钥匙”关掉100多部电梯广告!律师:或面临三重法律责任
- 7天前皇冠信用盘足球代理 _男子将热水器钢管通电致妻子洗澡时触电身亡 ,14岁女儿致信法院为父求情 终被判无期,判决书体现“司法温度”


网友评论